2020.10.28 19:34
滴滴打车把滴滴打球告了,法院这样判
文章来源:36Kr
编者按:本文来自“每日经济新闻”,作者 李净翰,36氪经授权转载。
滴滴打车这个品牌家喻户晓。而一家提供高尔夫球、搏击等培训的公司,不仅在宣传时大量使用“滴滴打球管家”的标识,还将公司更名为北京滴滴打球管家科技发展有限公司(简称滴滴打球公司)。因此,“滴滴”商标所有权人将滴滴打球公司起诉至法院。
近日,北京知产法院一审判令滴滴打球公司停止侵权、停止使用包含“滴滴”字样的企业名称,并赔偿原告损失70万元。双方当事人均未提起上诉,该判决已生效。
滴滴打车索赔300万元
据知产北京介绍,小桔公司、嘀嘀公司系第39类“运送乘客;运送旅客;交通信息;出租车运输”等服务上第14229622号“滴滴”注册商标的前后专用权人。
被告滴滴打球公司未经许可,在手机应用程序、微信公众号、网站、公司装潢等处大量使用包含“滴滴” 、“DiDi”文字的“滴滴打球管家”等标识,并提供高尔夫球、搏击、卡丁车等活动场地预定、教练课程预定及教学预约、文体培训、举办体育赛事等服务。
图片来源:知产北京
2016年3月31日,被告将企业名称由“北京颢宸易融信息咨询服务有限公司”变更为“北京滴滴打球管家科技发展有限公司”。
原告两公司主张滴滴打球公司的涉案行为侵犯了第14229622号“滴滴”驰名商标合法权益,故诉至北京知产法院,请求判令被告停止侵权、停止使用包含“滴滴”的企业名称,并要求赔偿300万元。
法院判赔70万元
综合考量第14229622号“滴滴”商标的宣传使用时间、地域影响范围、相关公众的知晓程度和认驰记录等证据,北京知产法院认定该商标在被诉行为发生时已达到驰名程度,构成已注册驰名商标。被告在网站、公众号、员工名片等处突出使用包含“滴滴”或“DiDi”的标识整体构成对 “滴滴”驰名商标的复制、摹仿、翻译,极易使相关公众误认上述服务系“滴滴”商标所有人原告提供或与其存在许可使用、关联企业等特定联系,属于“误导公众,致使驰名商标注册人的利益可能受到损害”的情形,侵犯了原告的“滴滴”注册商标专用权。
北京知产法院还认定,被告在明知涉案“滴滴”商标知名度的情况下,将企业名称由“北京颢宸易融信息咨询服务有限公司”变更为“北京滴滴打球管家科技发展有限公司”,并进行商业使用,其攀附“滴滴”品牌知名度的主观恶意明显,违背了诚实信用原则和公认的商业道德,构成不正当竞争。
最终,北京知产法院判令被告停止涉案商标侵权行为、停止使用包含“滴滴”字样的企业名称,并判令赔偿经济损失和合理开支共计70万元。双方当事人均未提起上诉,该判决已生效。
多起商标纠纷引关注
近日,B站(哔哩哔哩)起诉D站(嘀哩嘀哩)、今日头条起诉“今日油条”等事件也持续引发关注。
因认为dilidili商标与bilibili高度近似,诱使广大网络用户误认为该网站就是B站或者与B站存在特定联系,B站将D站告上了法庭。8月31日,上海市杨浦区人民法院一审判决,D站立即停止侵害相关注册商标专用权的行为,并在新浪微博上连续五日刊登声明以消除影响,并赔偿原告经济损失300万元及合理费用11万元。
图片来源:B站网页截图
D站图标
据齐鲁网报道,10月16日,今日油条针对被起诉一事发公开信作出回应,在公开信中,今日油条对于占用了公共资源以及耗费了大家的宝贵时间深表歉意。同时表示,曾经,卫龙的 “苹果风”让人莞尔一笑,今日,我们也期望赋予传统早餐新的力量。作为信息行业的翘楚,今日头条是被大众认可的媒体品牌,今日油条也以他们为榜样,立志成为百姓喜爱的早餐品牌。我们期望双方在各自的领域中不断进步,为大家提供更好的产品和服务。
图片来源:闪电视频
不过,今日油条并没有在公开信中承认自己侵权,此前据上游新闻报道,今日油条法定代表人张新亚回应称,大公司今日头条起诉卖油条的小公司今日油条,这令他不解。他天天刷今日头条 APP,是忠实用户,“傍大牌”只是觉得好玩而已。张新亚介绍,他从事餐饮行业已有 5 年。今年 5 月,他成立今日油条公司,现在郑州城区有 3 家店面,卖豆花、豆浆和油条。被今日头条起诉后,他有点懵,但已积极应诉。目前,判决结果还没下来。
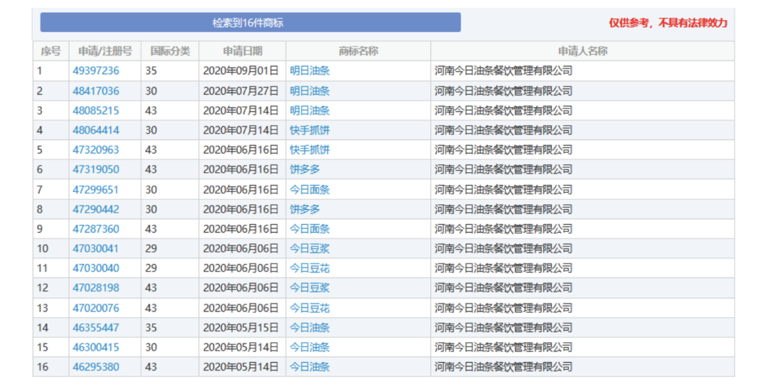
让人惊讶的是,目前今日油条公司还申请注册今日油条、今日豆浆、今日豆花、今日面条、饼多多、快手抓饼等商标,状态为注册申请中。
文章来源:36Kr
风险提示及免责条款
[温馨提示] 文章来源于36Kr,转载注明原文出处,此文观点与查生意无关,理性阅读,版权属于原作者若无意侵犯媒体或个人知识产权,请联系我们,本站将在第一时间删掉 ,查生意仅提供信息存储空间服务。


