2021.12.20 09:03
饿了么申请“饿了没、饿了妹、饿了喵”等商标被驳回
文章来源:网络
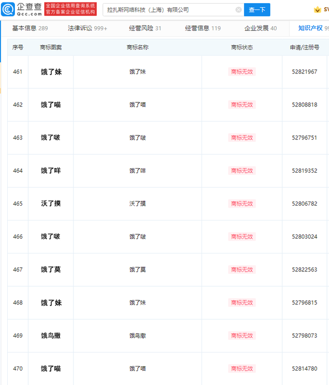
近日,饿了么关联公司拉扎斯网络科技(上海)有限公司申请注册饿了没、饿了妹、饿了喵、沃了摸、饿鸟撒等商标被驳回。
近日,饿了么关联公司拉扎斯网络科技(上海)有限公司申请注册饿了没、饿了妹、饿了喵、沃了摸、饿鸟撒等商标被驳回,企查查 App 显示,商标国际分类涉餐饮住宿、运输贮藏等。
IT之家了解到,此前,饿了么曾发布错误发音示范,列举了非饿了么公司申请的饿了么相似商标。
此前饿了么曾起诉饿了吗不正当竞争,获赔 1 万元,后者已更名御膳房 。
文章来源:网络
风险提示及免责条款
[温馨提示] 文章来源于网络,转载注明原文出处,此文观点与查生意无关,理性阅读,版权属于原作者若无意侵犯媒体或个人知识产权,请联系我们,本站将在第一时间删掉 ,查生意仅提供信息存储空间服务。


