2022.11.29 18:00
成都川西民俗玉华酒店2143万元成交
文章来源:迈点网
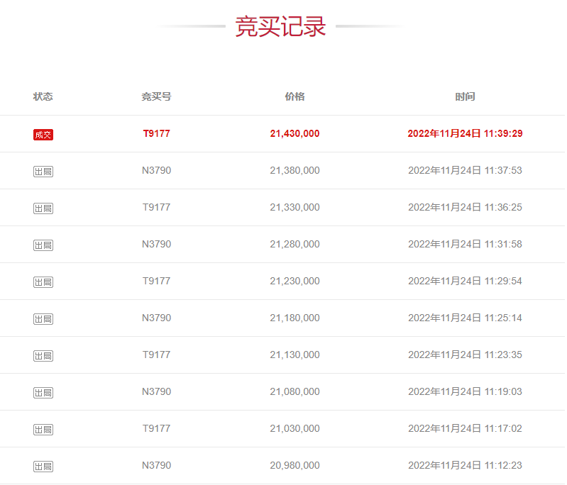
本次竞拍共有40条竞买记录,最终成交价格为2143万元。
据阿里资产·司法拍卖网消息,四川省成都市郫都区安德镇安平路76号川西民俗玉华酒店以2143万元的价格成交。据悉,本次拍卖共有40条竞买记录,本次拍卖为川西民俗玉华酒店首次拍卖。本次拍卖保证金为100万元,起拍价1948万元,加价幅度5万元,标的物评估价为2782万元。

根据竞买记录来看,共有两组竞拍号参与竞拍,最终竞拍号为T9177的竞拍者以2143万元的价格胜出,另一位竞拍者出局。

文章来源:迈点网
风险提示及免责条款
[温馨提示] 文章来源于迈点网,转载注明原文出处,此文观点与查生意无关,理性阅读,版权属于原作者若无意侵犯媒体或个人知识产权,请联系我们,本站将在第一时间删掉 ,查生意仅提供信息存储空间服务。
 
  
 


