首页 / 要闻 / 连锁经营 / 第一批次“彩云购车补”今日下午15时开始申领(附最新申领信息及参与企业名单)

第一批次“彩云购车补”今日下午15时开始申领(附最新申领信息及参与企业名单)

2024.03.06 14:11

文章来源:黑龙江省连锁经营协会

摘要:

云南省商务厅关于“彩云购车补”活动规则的公告 (2021年第4号)为方便广大消费者了解“彩云购车补”活动有关规则,现发布汽车惠民促

云南省商务厅关于“彩云购车补”活动规则的公告 

(2021年第4号)


为方便广大消费者了解“彩云购车补”活动有关规则,现发布汽车惠民促销“彩云购车补”活动规则及有关流程(见附件)。

其中,为避免因在线申领平台容量限制造成网络拥堵,调整“彩云购车补”活动注册报名和申领平台为:“聚方便微服”微信公众号-业务办理-彩云购车补,请参与消费者知悉。
特此公告。
附件:1.“彩云购车补”活动规则
         2.“彩云购车补”活动规则说明
         3.消费者参与流程图
         4.经销商参与流程图
         5.“彩云购车补”申领入口二维码
         6.“彩云购车补”申领流程图

云南省商务厅
2021年12月3日

附件1
“彩云购车补”活动规则


一、活动简介
汽车惠民促销“彩云购车补”活动由云南省商务厅主办,为全省“云集好物 年终聚惠”促消费系列活动之一。本项活动投入1亿元财政资金,对活动期间取得补贴名额、在参加活动汽车销售企业购买全新7座及以下小型客车的省内个人消费者给予资金补贴。
二、活动时间
2021年12月4日15时至2022年3月31日18时。
三、参加企业
在州市商务局推荐的基础上,由省商务厅确定参加活动企业名单并向社会公开。企业名单可通过省商务厅门户网站、“聚方便微服”微信公众号等查询。(点击本文左下角“阅读原文”查询参加活动汽车销售企业名单)
四、购车范围
在参加活动汽车销售企业购买全新7座及以下小型客车(燃油汽车和新能源汽车),所购车辆须在云南省内完税和登记落户。
五、补贴标准
中签者通过申领审核,按所购车价格(机动车销售统一发票含税价)的10%金额对消费者发放资金补贴,每位消费者可享受1辆车、最高不超过3万元的补贴。1亿元补贴资金发完即停止补贴。
六、参与人员
活动期间在参加活动企业购车或者有购车意向的省内个人消费者。
七、补贴名额
通过分批次摇号方式发放补贴名额。第一批次发放名额2000人,后续批次名额根据补贴资金余额、报名参加摇号人数等情况确定。
八、参与方式
(一)注册报名。消费者通过手机扫描参加活动企业的专属二维码进行注册,经对应企业进行绑定确认后完成注册。在每批次摇号报名时间截止前,可换绑其他参加活动企业。第一批次报名为2021年12月4日15时至12月20日24时。上一批次报名摇号时间截止后即开始下一批次报名。
(二)参加摇号。注册成功后,报名参加分批摇号。批次可自行选择,批次确认提交后不可更改。每批次摇号省商务厅事前公布报名参加摇号时间、摇号名额。摇号当日,公证机构现场公布本期报名参加摇号人数、确认摇号名额。公证机构对摇号过程和结果进行公证。摇号中签者将以手机短信提醒并进行网络公示,消费者亦可在申领平台查询。第一批次摇号日期为2021年12月21日。
(三)在线申领。摇号中签者,在线申报前要完成车辆购置及落户等相关手续,在规定时限内登陆“聚方便微服”微信公众号-业务办理-彩云购车补进行在线补贴申领。申领人须在线签署《消费者承诺书》,填报购车相关信息,上传指定资料,确认无误后提交。需提交资料如下(图片资料为jpg格式):
1.购车合同
2.机动车销售统一发票
3.车辆购置税完税凭证或免税凭证
4.机动车交通事故责任强制保险凭证
5.机动车登记证书
6.消费者个人居民身份证
7.消费者个人银行账户
补贴申领人应如实填报信息和提供证明资料,如涉嫌骗取政府补贴的将依法追究法律责任。
第一批次在线申领时间为摇号结束后至2022年1月31日24时。逾期未提交补贴申领或初审未通过的,补贴名额作废,不得参加后续批次摇号。
九、在线审核
审核包括初审和最终审核,时间共10个工作日(初审3个工作日)。初审通过的进入最终审核,初审未通过的(将以手机短信提示)申领人可补充完善后重新提交(可重复多次提交,重新提交后重新排序)。最终审核通过的将按时间顺序手机短信通知申领人。最终审核未通过的,补贴名额作废。申领人可通过“聚方便微服”微信公众号-业务办理-彩云购车补-消费者申领、查询,查看个人补贴申领情况和有关公示信息。
十、发放补贴
最终审核通过后10日内,由建行云南省分行按照消费者最终审核通过的时间先后顺序发放购车补贴(银行卡转账)。第一批次兑付时间为摇号后至2022年2月10日。
活动客服电话:0871-63060969、0871-63629677、0871-63198196、0871-63198182、0871-64577962、0871-63311999
省商务厅举报投诉电话:0871-63185263
拨打时段为工作日上午08∶30-12∶00,下午14∶00-18∶00
   
附件2
“彩云购车补”活动规则说明

一、活动简介
汽车惠民促销“彩云购车补”活动由云南省商务厅主办,为全省“云集好物 年终聚惠”促消费系列活动之一。本项活动投入1亿元财政资金,对活动期间取得补贴名额,在参加活动汽车销售企业购买全新7座及以下小型客车(含新能源汽车)的省内个人消费者给予资金补贴。
二、活动时间
2021年12月4日15时至2022年3月31日18时。
三、参加活动企业
经发布通知组织汽车销售企业正式报名,在州市商务局推荐的基础上,由省商务厅确定参加活动企业名单并向社会公开。企业名单可通过省商务厅门户网站、“聚方便微服”微信公众号等途径查询。
四、活动购车范围
消费者在其绑定的参加活动汽车销售企业购买全新7座及以下小型客车(含新能源车):
(一)包括燃油汽车和新能源汽车(含混动)。
(二)包括微型客车、轿车、小型客车、小型越野车(不包括各类货车、皮卡车、专项作业车、三轮车、摩托车等)。
(三)所购车辆须为新车(不包括二手车)。
(四)不区分各类品牌国产汽车和进口汽车。
(五)不区分全款购车及贷款购车。
(六)不区分用途(家用或营运)。
(七)所购车辆须在云南省内完税和登记落户。
五、活动补贴标准
摇号中签者在限定时间内(时间由各批次摇号通知或公告确定)申领购车补贴并通过最终审核的,根据通过最终审核时间先后顺序,按所购车价格(机动车销售统一发票含税价)的10%金额对消费者发放资金补贴,每位消费者可享受1辆车、最高不超过3万元的补贴。1亿元补贴资金发完即停止补贴。
六、活动参加人员
活动期间,在参加活动汽车销售企业购车或者有购车意向(如与企业签订购车合同、交纳购车定金或订金等)的云南省内个人消费者(具有完全民事行为能力的中华人民共和国公民,包括云南户籍和非云南户籍的自然人),均可参加活动。
七、补贴名额
活动期间,通过分批次摇号方式发放一定数量补贴名额。第一批次发放名额2000人,后续批次名额根据补贴资金余额、报名参加摇号人数等情况综合确定。
八、消费者参与方式
(一)注册报名。个人消费者通过手机扫描参与活动汽车销售企业的专属二维码进行注册(注册时需绑定个人身份信息、绑定参加活动汽车销售企业、绑定个人联系电话,姓名和身份证号一经绑定不可修改),经对应企业进行绑定确认后完成注册(程序设定每个企业每批次可确认次数上限,第一批次报名库内企业上限500次、库外企业上限180次)。消费者在报名参加本批次摇号时间截止前,可与绑定的参加活动企业解绑并换绑其他参加活动企业(换绑需新绑定企业确认,消费者活动期间换绑仅限1次;已中签者不得换绑和再次参加摇号)。
活动期间,已在参加活动汽车销售企业完成购车的消费者,该企业应优先协助其及时完成注册绑定,以便消费者报名参加分批次摇号。
第一批次报名:2021年12月4日15时至12月20日24时。上一批次报名摇号时间截止后即开始下一批次报名(将事前发布通知或公告)。
(二)参加摇号。个人消费者注册成功后,报名参加分批摇号。参加批次由消费者进行选择(程序设置默认参加时间最临近批次摇号并作提示,如不参加消费者应自行更改)。参加批次确认提交后不可更改,但参加批次摇号报名截止前消费者可换绑参加活动企业。
1.每批次摇号,省商务厅事前公布报名参加摇号时间、摇号日期、摇号名额(中签数)。摇号当日,公证机构现场公布本期报名参与摇号人数、确认摇号名额。如该批次报名参加摇号人数少于或等于公布的摇号名额,则实际摇号名额调整为报名人数的80%(四舍五入取整自然数)。
2.每批次摇号,由公证机构对摇号过程和结果进行公证。摇号开始前可进行1次摇号调试模拟,开始正式摇号后摇出中签者。正式摇号现场全程录像或直播,公开摇号操作界面、摇号结果。摇号中签者将手机短信提醒并进行网络公示,消费者可在申领平台查询。
第一批次摇号日期:2021年12月21日(具体时点以通知或公告为准),计划摇号名额(中签数)为2000人。
后续批次摇号有关事宜,结合第一批次摇号情况、申领补贴和资金兑付情况综合确定并发布通知或公告。
(三)在线申领。摇号中签者,活动开始后在绑定的汽车销售企业已购车或者中签后购车,在规定时限内(时限由各批次摇号通知或公告规定)在“聚方便微服”微信公众号-业务办理-彩云购车补进行在线补贴申领。申领人须在线签署《消费者承诺书》,填报购车相关信息,上传指定材料,确认无误后提交审核。
在线申报需提交以下证明资料(其中1至5项证明资料上载明的时间必须在“彩云购车补”活动时间范围内):
1.购车合同
2.机动车销售统一发票
3.车辆购置税完税凭证或免税凭证
4.机动车交通事故责任强制保险凭证
5.机动车登记证书
6.消费者个人居民身份证(无法提供身份证的可提供户口册个人页)
7.消费者个人银行账户(不限开户行,提供个人银行卡开户行名称、卡号)
以上证明资料要求上传图片的,应是原件清晰完整电子图片(jpg格式)。
申领人(注册人、中签者)信息、申报信息、证明资料载明的个人身份信息应一致(必须为同一人);涉及汽车销售企业应为消费者绑定的企业(绑定企业和购车合同、购车发票上载明的企业名称、统一社会信用代码应完全一致)。
第一批次在线申领时间:第一批次摇号结束后至2022年1月31日24时。该时限内未提交补贴申领或初审未通过的,该中签者的补贴名额作废、不得再申领补贴和参加后续批次摇号。
九、线上审核
申领人的补贴申领提交后,即进入补贴申领审核程序。审核包括初审和最终审核,时间共10个工作日(初审3个工作日)。初审由公证机构进行,初审未通过的(将以手机短信提示)申领人可补充完善后重新提交(可重复多次提交,每次重新提交后原排序失效,进行重新编号排序)。通过初审的由主办单位会同公证机构进行最终审核。最终审核通过的将按时间顺序手机短信通知申领人。最终审核未通过的,申领人不可重新进行申领,其补贴名额作废、不得再申领补贴和参加后续批次摇号。
申领人可在补贴申领平台(通过“聚方便微服”微信公众号-业务办理-彩云购车补-消费者申领、查询-进度查询)查看其个人购车补贴申领审核状态、提交审核时间排序、最终审核通过时间排序,以及补贴资金余额情况、已领取补贴人员公示情况。
十、发放补贴
申领人的补贴申领最终审核通过后10日内,由建行云南省分行按照消费者最终审核通过的时间先后顺序发放购车补贴(银行卡转账)。
银行兑付补贴时,申领人领取补贴不扣取任何费用,涉及个人所得税的由申领人自行依法申报。
第一批次补贴兑付时间:第一批次摇号后至2022年2月10日(申领人最终审核通过后10日内完成兑付)。
十一、其他事项
(1)参加活动汽车销售企业应规范宣传,指导配合购车者在线注册和报名参加批次摇号,指导协助取得补贴名额者在线申领购车补贴,配合协办单位进行本企业汽车销量、库存情况等数据的定期上报。
(2)个人消费者应了解购车补贴规则理性购车消费。补贴申领人应如实填报信息和提供证明资料,如涉嫌骗取政府补贴的将依法追究法律责任。
(3)本活动期间,消费者可同时享受本活动补贴政策和其他现行各级各部门实施的有关汽车消费使用优惠政策。
(4)本规则由云南省商务厅负责解释说明。各地活动过程中涉及的有关纠纷问题、举报投诉和突发情况由属地各州市商务局负责处理。
十二、咨询投诉
活动客服电话:0871-63060969、0871-63629677
0871-63198196、0871-63198182
0871-64577962、0871-63311999
省商务厅举报投诉电话:0871-63185263
拨打时段为工作日上午08∶30-12∶00,下午14∶00-18∶00 

附件3



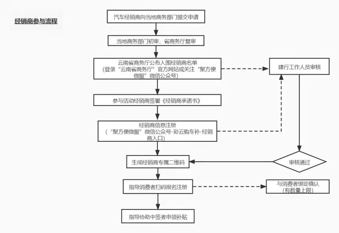
附件4


附件5


附件6








转载是一种动力 分享是一种美德

动动小手 点个【在看】再走

文章来源:黑龙江省连锁经营协会

风险提示及免责条款

[温馨提示] 文章来源于黑龙江省连锁经营协会,转载注明原文出处,此文观点与查生意无关,理性阅读,版权属于原作者若无意侵犯媒体或个人知识产权,请联系我们,本站将在第一时间删掉 ,查生意仅提供信息存储空间服务。

发表评论 (0)
0/200
暂无评论哦,快来评论一下吧!