2024.03.21 21:33
【知产动态】“塔利班”商标被抢注!
文章来源:北京家居行业协会公众号
点击上方“北京家居行业协会”可快速关注!近日,阿富汗、塔利班成为了国际政治的重大...
近日,阿富汗、塔利班成为了国际政治的重大热点,据俄罗斯新闻社(RIA)8月15日报道,阿富汗总统加尼同意辞职。阿富汗情势究竟如何发展尚不得而知,国内有些企业就已经等不及蹭热度了。
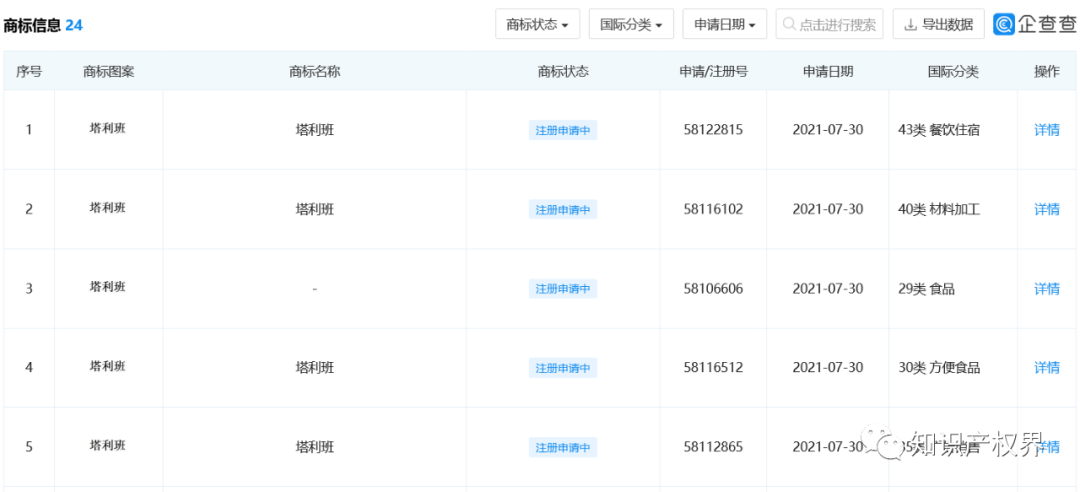
据中国商标网显示,截至2021年8月15日,已有一家佛山公司于2021年7月30日申请了4个“塔利班”商标。
据企查查信息显示,佛山一公司实际上申请了5件“塔利班”商标,其中一件商标图片为塔利班,商标名称空白,该公司申请的5件商标分别为第43类餐饮住宿,第40类材料加工,第29类食品,第30类方便食品以及第35类广告销售。
另一件2019年6月11日申请的“塔利班”商标由惠州一公司申请,申请类别为第11类,目前已被驳回。
根据商标法第十条第1款第八项规定,有害于社会主义道德风尚或者有其他不良影响的,不得作为商标使用的情况。其中“其他不良影响”是指商标的文字、图形或者其他构成要素对政治、经济、文化、宗教、民族等社会公共利益和公共秩序产生消极的、负面的影响。值得注意的是,“不良影响”条款是绝对禁止条款,商标一旦触碰公序良俗的底线,就必然会被审查员驳回。如此看来,第一件“塔利班”商标已被驳回,由佛山公司申请的“塔利班”商标也难逃被驳回的命运。
(来源:IPRdaily中文网(iprdaily.cn))
(免责声明:此文章来源于网络,版权归作者所有,若有版权问题请作者尽快告知我们,我们将尽快删除相关内容,表示歉意!)
文章来源:北京家居行业协会公众号
风险提示及免责条款
[温馨提示] 文章来源于北京家居行业协会公众号,转载注明原文出处,此文观点与查生意无关,理性阅读,版权属于原作者若无意侵犯媒体或个人知识产权,请联系我们,本站将在第一时间删掉 ,查生意仅提供信息存储空间服务。


