2024.03.21 21:35
从审查意见通知书的角度谈申请文件中技术方案的撰写
文章来源:北京家居行业协会公众号
点击上方“北京家居行业协会”可快速关注!IPRdaily,连接全球百万知识产权精...
IPRdaily,连接全球百万知识产权精英
全球影响力的知识产权产业媒体
#本文仅代表作者观点,不代表IPRdaily立场,未经作者许可,禁止转载#
来源:IPRdaily中文网(iprdaily.cn)
供稿:北京格允知识产权代理有限公司
原标题:从审查意见通知书的角度谈申请文件中技术方案的撰写
IPRdaily导读:审查员是从公众角度出发,希望找到能够尽可能多地公开独立权利要求的技术方案。如果审查员并未找到实质公开独立权利要求的技术方案,那么可能审查员基于对申请文件的理解,找到能够“字面公开”独立权利要求的技术方案。本文讨论了如何根据审查意见通知书中“字面公开”的评述意见,来指导代理师对申请文件的撰写和答复,以形成质量较高的专利申请。
背景介绍
依据专利法实施细则的规定,无论是发明专利、实用型专利还是外观设计专利,专利管理部门进行审查后,都会将审查意见的结果(即审查意见通知书)通知申请人。尤其是针对发明专利在实审过程中下发的审查意见通知书,常常涉及技术方案的创造性问题,这也是专利代理师在答复审查意见通知书过程中碰到的最常见的问题。
关于如何争取创造性,代理师都应当知道是争辩本申请的技术方案(主要是指代理师自己认为的区别技术特征)和对比文件公开的技术方案不同。至于如何争辩不同,则主要是争辩技术方案未被对比文件公开,不是公知常识,且具有意料不到的效果。
然而,在面对二者(即本申请和对比文件)的技术方案确实比较接近时,最为关键的环节是代理师如何利用二者的差异性进行意见陈述,这样才可能说服审查员,以使本申请的技术方案具有授权前景。笔者不才,答复过一些涉及电学领域和机械领域关于创造性问题的审查意见通知书,在答复的过程中发现:上面提及的差异性是可以从审查意见通知书中隐含察觉到的。
知晓了这个差异性,有利于提高代理师在撰写阶段的撰写水平,即将申请文件的技术方案尽可能地细化表述,如此方便后续代理师将因这些细化表述产生的差异性的技术特征补入到独立权利要求中,从而提高专利的授权率。当然,这个发现也许众多经验丰富代理师早已发现并熟练地掌握了解决方式,即便如此,笔者也想在本文谈谈自己的相关看法。若有表述不当之处,还望海涵。
案例演绎
技术背景
在对生物质进行气化时,由于生物质的能流密度较煤炭低,且生物质中含有大量的挥发分,气化过程中的热解段容易产生焦油。
发明构思
在炉体内设置导流件,一方面可以使生物质燃料更加顺畅地向下流动,另一方面也可以使下部热量沿导流件向上传递,进而使得更多的下部热量向上传递,从而可进一步防止生物质燃料结焦。
具体方案
图1
图2
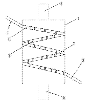
参见图1和图2,装置包括炉体100,生物质燃料从进料口1进入炉体100内部后向下移动,气化剂从炉栅21进入炉体100内部后向上移动。炉体100内设置有中心管3,生物质燃料气化产生的可燃气体经由中心管3排出炉体100。炉体100内还设置有导流件4,生物质燃料5能沿导流件4由上至下流动。
在说明书中描述导流件4的细节方案包括:(1)导流件4设置有多个第一通孔43。在生物质燃料5和气化剂在逆流相遇时,通过在导流件4上设置的第一通孔43,可使生物质燃料5和气化剂接触的机会大大增加。(2)导流件4设置于炉体100的内壁上,例如通过焊接的方式将导流件4固定于炉体100的内壁上。导流件4沿炉体100径向方向上的尺寸为炉体100的内径的5%-20%,如此可使生物质燃料5向下移动地更为顺畅。(3)导流件4由上至下为连续且螺旋设置的方式,如此可保证生物质燃料5向下移动的连贯性,即不会产生太多的阻力。(4)导流件4具有多个朝向第一方向F1设置的第一螺旋段41和朝向第二方向F2设置的第二螺旋段42,第一方向F1和第二方向F2不同向。如此可使生物质燃料5和气化剂在导流件4上的混合程度更加均匀,即增加了二者的混乱程度。
对比文件1公开了炉体、中心管等基础部件的方案,未公开导流件相关的区别技术特征。对比文件2(请参见图3)公开了第一导料机构21和第二导料机构22,其中:第一导料机构21,具有第一导料口3和至少一将物料导入第一导料口3的第一倾斜面211;第二导料机构22,与炉体1内壁之间形成一允许物料通过的第二导料口4;第一导料口3和第二导料口4交错设置,形成物料由固体进料口11运动至固体出料口12的通道。
审查员认为:对比文件2给出了气化炉内部设置导料机构可以使得气化剂与固体物料的接触更加均匀,进一步提高物料的转化率的技术启示。而本领域已知,物料的转化率提高的同时,气化反应会更加完全,可以减少物料的结焦。在此基础上,本领域技术人员有动机采用对比文件2教导的导料机构结合于对比文件1的中,得到独立权利要求的技术方案。
图3
根据笔者对本申请和对比文件2的理解,可以明显的知道二者所公开的导流件的结构和作用均不同,即对比文件2实际上确实公开的是独立权利要求中对导流件限定的范围,但是并未公开具体的细节方案。因此,笔者对上述的细节方案进行分析,确定出细节方案(3)和(4)的创造性高度比较明显,故将细节方案(3)和(4)补入原独立权利要求中,形成新的技术方案。
然后,笔者针对细节方案(3)和(4),与对比文件2公开的导流件相关方案进行区别的意见陈述,主要陈述效果作用不同、结构不同,因此对比文件2并未公开细节方案(3)和(4)。
审查员认可笔者的争辩理由。
不过,审查员在二通引用了一篇对比文件3,对比文件3(请参见图4)公开了在热解气化炉的炉体内壁设置螺旋落料通道使得物料可以沿螺旋落料通道从上至下流动,螺旋落料通道由上至下且连续设置;炉膛内壁上带通风微孔的螺旋落料通道可保证各处均燃烧充分、均匀。对比文件3给出了在气化炉内壁设置螺旋结构的导流件的技术启示,其结构与本申请一样,均是由上至下为连续且螺旋设置,因此公开了独立权利要求的技术方案。
图4
笔者认真分析了对比文件3的技术方案后,认可审查员的评述逻辑。即主要是对比文件3“字面公开”了由上至下为连续且螺旋设置的导流件。但实质上而言,二者的导流件的作用和结构也并非完全相同,理由是:对比文件3的导流件是用于进料和出料的,且该导流件为全封闭结构;而本申请的导流件是用来防止物料在炉体顶部进入炉内后发生堵塞或者换热不均匀的,且该导流件为开放式结构,即具有朝向四周的螺旋状表面。
在审查员下发的二通可以看出,审查员就是基于公众的角度,逐渐地查找能够尽可能公开(或“字面公开”,即公开了独立权利要求的字面上的技术方案)独立权利要求的技术方案的对比文件。基于笔者的经验,如果二通不进行修改,只陈述争辩理由,则驳回的可能性将会很高。那么如何进行修改,才能将本申请的独立权利要求的保护范围可以和审查员找到的对比文件具有一定的区分度,这也是笔者在本文想和各位看官分享的。
还依稀记得,笔者在入行的时候,笔者的指导老师和我说过,要尽可能地将发明人提供的技术方案细化表达,比如描述一颗长了梨的苹果树(此处想表达的是这个苹果树是具有新颖性的),通常代理人可能想到的描述方式为一颗苹果树上长了梨,而描述最得当的方式则不仅仅要描述这颗苹果树长了梨,还要描述这个梨的品种(即为了表明是所有的梨都能长在这颗苹果树上吗?)、这个梨的其它属性,比如大小、颜色、生长周期等。这么做的方式就是为了审查员假如找到了公开一颗苹果树的对比文件1和公开梨可以长在桃树(或其它非梨树)上的对比文件2,那么审查员就可以结合对比文件1和对比文件2来评述我们这颗苹果树的创造性。而上述我们说的还要描述梨的品种和其它属性,就是为了出现这个情况时,我们能够与审查员进行更好的争辩。
基于对技术方案更细化的表达,笔者在撰写申请文件时,在撰写说明书时记载过这样一个技术特征:导流件两侧的表面均为朝向四周的螺旋状,其中,导流件两侧的表面为分别与生物质燃料和气化剂相对的表面。从这一技术特征可以看出,本申请的技术方案可以充分地与审查员找的对比文件区分开,因此笔者将该技术特征补入到独立权利要求,既对独立权利要求进行了修改,又对与对比文件公开的技术方案进行了更好的区分。
基于上述分析,笔者的陈述理由(以下为简述后的陈述理由)如下:
首先,对比文件1和对比文件3的进料方式不同,存在结合障碍。
其次,即便能够结合,结合后的方案仍然为对比文件3的导流件,对比文件3的结构和作用也与独立权利要求的区别技术特征不同,其中:结构的不同在于,本申请的导流件两侧的表面均为朝向四周的螺旋状,导流件两侧的表面为分别与生物质燃料和气化剂相对的表面,而对比文件3的导流件为封闭式结构;作用的不同在于,本申请的导流件的作用为防止物料在炉体顶部进入炉内后发生堵塞或者换热不均匀,对比文件3的导流件的作用为用于进料和出料。
最后,笔者为了更清楚地向审查员表明二者的结构不同,特地引用了一个DNA结构(请参见图5),即说明图2的导流件结构和图5的DNA结构相似,从而增加了与对比文件3的导流件结构进行区分的争辩力度。当然,这个类似DNA结构的想法在笔者撰写时并未发现,否则将类似于DNA结构的表述添加到说明书中也是非常好的结构描述方式。
图5
总结
经过了第二次意见陈述,审查员认可了笔者的争辩理由,该案也得到了授权。从上文的分析,笔者想和各位看官分享的是:审查员是从公众角度出发,希望找到能够尽可能多地公开独立权利要求的技术方案。如果审查员并未找到实质公开独立权利要求的技术方案,那么可能审查员基于对申请文件的理解,找到能够“字面公开”独立权利要求的技术方案。例如,上述案例中审查员找到的对比文件2和对比文件3,都是公开了不同阶段的独立权利要求的技术方案。
但是实际上,审查员和代理师都明白二者的技术方案并不相同,那么审查员利用对比文件2和对比文件3进行评述的潜台词是:就目前阶段的独立权利要求的保护范围,是不具有授权前景的,需要代理师进行进一步地限缩式修改。代理师在知晓了这一潜台词后,那么对应的争辩理由也自然能够说服审查员。
话又说回来,在知晓这一潜台词后,如何能够在不超范围的前提下进行限缩式修改,是需要代理师在撰写阶段就要对本申请的技术方案进行细化表达,尽可能地覆盖多个描述角度,这样才能撰写出一份授权率高、稳定性高的专利申请。
来源:IPRdaily中文网(iprdaily.cn)
供稿:北京格允知识产权代理有限公司
编辑:IPRdaily王颖 校对:IPRdaily纵横君
(免责声明:此文章来源于网络,版权归作者所有,若有版权问题请作者尽快告知我们,我们将尽快删除相关内容,表示歉意!)
文章来源:北京家居行业协会公众号
风险提示及免责条款
[温馨提示] 文章来源于北京家居行业协会公众号,转载注明原文出处,此文观点与查生意无关,理性阅读,版权属于原作者若无意侵犯媒体或个人知识产权,请联系我们,本站将在第一时间删掉 ,查生意仅提供信息存储空间服务。


