2024.03.21 21:37
【知产动态】商标局又一重拳打击恶意商标注册申请
文章来源:北京家居行业协会公众号
点击上方“北京家居行业协会”可快速关注!近日,国家知识产权局商标局驳回董海静(执...
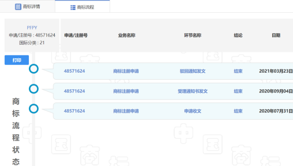
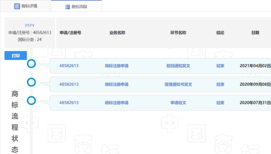
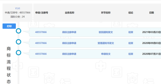
近日,国家知识产权局商标局驳回董海静(执照:芝罘区董海静百货商行)申请的453件商标注册申请。
中国商标网显示,这些商标申请是董海静于2020年6月23日~2020年7月31日之间提交的,覆盖多类产品、服务。商标是由几个英文字母组成,看不出有什么实际意义。记者随机点开几件商标申请,流程一栏均显示驳回字样,最近一次驳回发文通知时间是2021年4月2日。
专家指出,所驳回商标虽然是分别由普通字体样式的英文字母组合,但是申请人短期内大量申请,没有有效使用证据,属于不以使用为目的的恶意商标注册申请。
(来源:中国市场监管报记者:刘永)
(免责声明:此文章来源于网络,版权归作者所有,若有版权问题请作者尽快告知我们,我们将尽快删除相关内容,表示歉意!)
文章来源:北京家居行业协会公众号
风险提示及免责条款
[温馨提示] 文章来源于北京家居行业协会公众号,转载注明原文出处,此文观点与查生意无关,理性阅读,版权属于原作者若无意侵犯媒体或个人知识产权,请联系我们,本站将在第一时间删掉 ,查生意仅提供信息存储空间服务。


